
Компанія Ford отримала патент на технологію теплих пасків безпеки. З нетерпінням чекатимемо на її впровадження.
Також цікаво: У німецькому місті з'явились світлофори з Елвісом Преслі
Навряд чи нова функція матиме велике значення у зимовий період, оскільки теплі куртки зазвичай бережуть водіїв від контакту з паском, а от у холдні літні, осінні чи весняні дні – якраз для таких випадків. З іншого боку, додаткове джерело тепла у холодну зимню пору ніколи не буде зайвим.
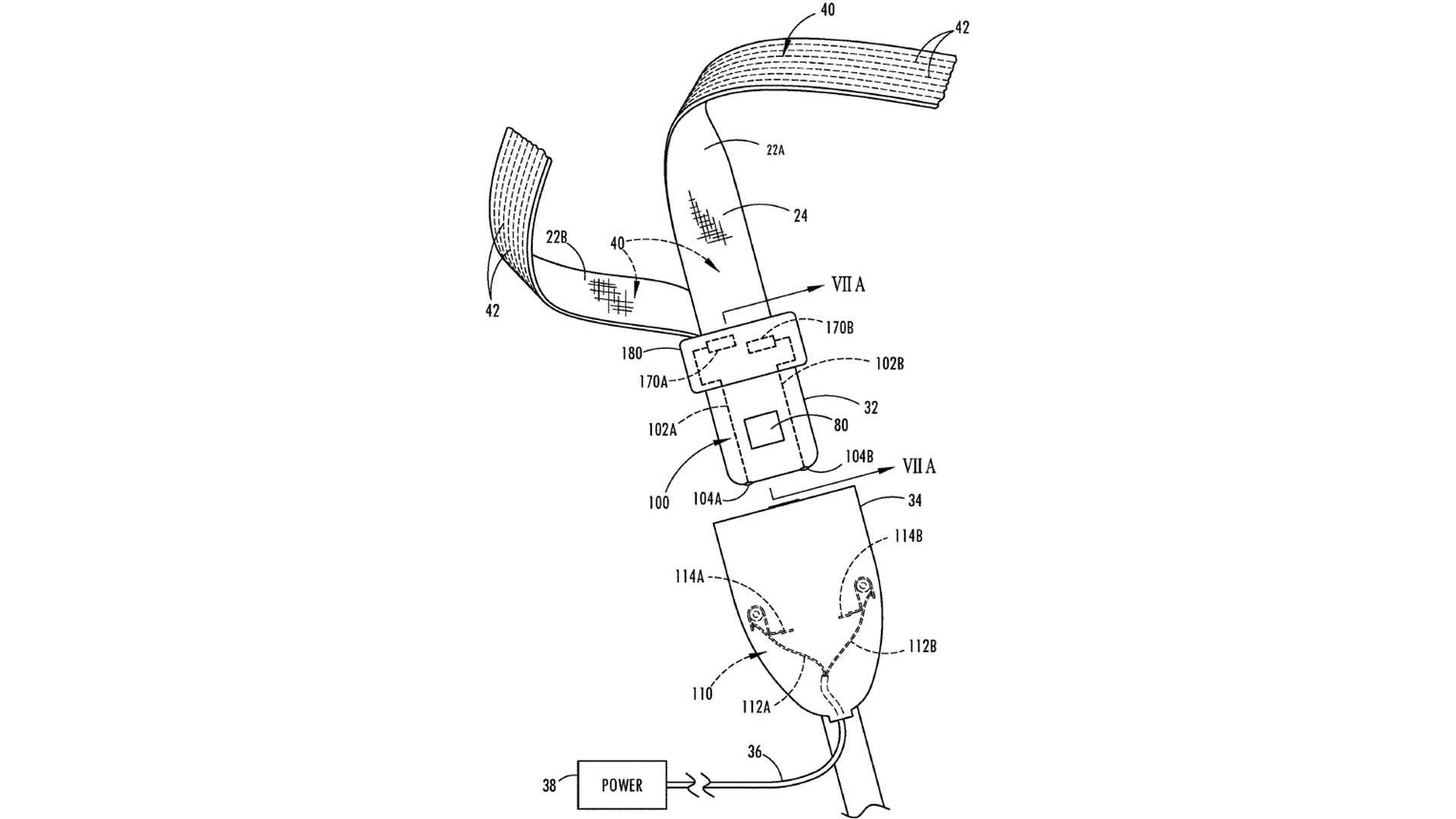
Згідно з патентом, електричні нагрівальні елементи вшиті всередину ременя, при цьому живлення на них подається лише після замикання замка. Виходить, що пристібатись доведеться усе ж холодним паском, котрий за кілька секунд нагрівається.
Фото: зображення з патентної заявки Ford / U.S. Patent and Trademark Office
Можливо, ремінь з підігрівом був запатентований лише для того, щоб застовпити ідею, без наміру її впровадження в автомобілі, що випускаються. Однак будьте готові до того, що скоро вам запропонують автомобіль з подібною платною опцією.
Також цікаво: Представлено легкий родстер McLaren 720S Spider