
ФОТО: CarBuzz|
Патентне зображення нової гібридної силової установки Porsche
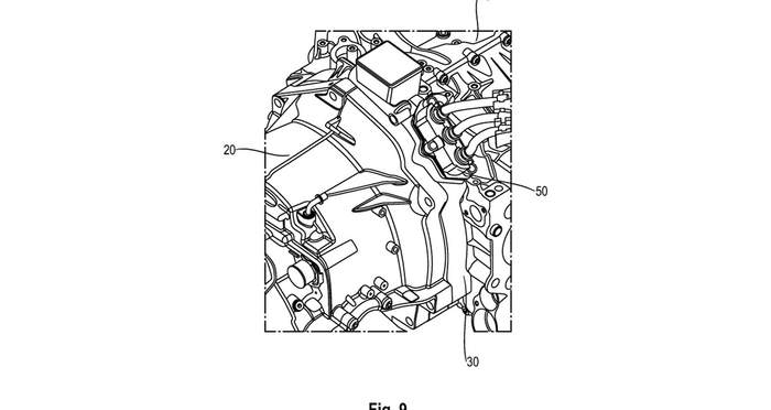
Патент, виявлений виданням CarBuzz у базі Всесвітньої організації інтелектуальної власності (WIPO), описує силову установку, де надтонкий осьовий електродвигун встановлено між бензиновим двигуном і коробкою передач. Завдяки своїй дископодібній формі, такий двигун займає мінімум місця — у деяких конфігураціях його товщина становить лише 8 сантиметрів.
Читайте також: Porsche 911 Targa був похований під сосновими шишками 31 рік, але тепер його чекає друге життя
Така компоновка дає змогу встановити електромотор без зміни габаритів силового агрегату, що особливо важливо для моделей з класичним компонуванням, таких як 911, де двигун розташований позаду.
На відміну від звичних радіальних електродвигунів, осьові системи легші, ефективніші та генерують менше тепла. Крім того, Porsche розробила спеціальну систему охолодження — у патенті йдеться про “чашоподібну камеру”, яка охолоджує і ДВЗ, і електродвигун одночасно.
Над технологією працює компанія Yasa, відома своїми високопродуктивними електромоторами, які вже використовують Ferrari SF90 та Lamborghini Revuelto. Один такий двигун може видавати понад 470 кінських сил і 800 Нм крутного моменту — і це при мінімальних розмірах.
Якщо Porsche інтегрує подібний двигун у свої майбутні моделі, наприклад у 911 GT2 або гіперкар, що прийде на зміну 918 Spyder, сумарна потужність може сягнути 800–900 к.с. Для порівняння, нинішній 911 Carrera GTS Hybrid має електродвигун на 54 к.с. і загальну віддачу системи 532 к.с. Тож потенційне зростання виглядає колосальним.
Корисно: Як вибрати потрібну комплектацію автомобіля: якими опціями справді користуються
Згідно з патентом, електромотор працюватиме через коробку передач PDK з подвійним зчепленням, передаючи потужність на задню або всі чотири осі залежно від моделі. Використання осьового двигуна не лише підвищить продуктивність, а й зменшить вагу, покращуючи баланс та керованість — ключові риси, за які цінують Porsche.